| توافر الحالة: | |
|---|---|
| الكمية: | |
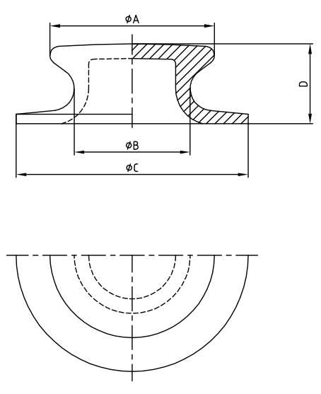
DF-192
HEE
يلقي الفولاذ 6 'زر chock
| نموذج لا. | φa | φb | φc | D | بالوزن (رطل) |
| DF-192 | 8 1/2 ' | 6 ' | 12 ' | 4 1/8 ' | 40 |
يمثل زر Cast Steel Marine Chock حلاً محسّنًا لتوجيهات الحبل وتوزيع الحمل في تطبيقات الإرساء المتوسطة ، وتوازن الأداء مع التصميم المدمج. نظرًا لأن الأوعية الساحلية والقوارب تتطلب معدات إرساء موثوقة تقلل من مساحة سطح السفينة مع الحفاظ على السلامة ، فإن هذا الزر يوفر وظائف استثنائية في حزمة موفرة للفضاء. تم إنشاؤه من الصلب المصبوب ASTM A27 مع حمولة عمل آمنة (SWL) من 600 كيلو نيوتن (61 طن) ، فهو يتميز بتكوين 6 أسنان مرتبة في نمط دائري لتوزيع ضغط الحبل بالتساوي. يبلغ قطره 18 بوصة بملف تعريف 3 بوصات ، ويستوعب chock أقطار الحبل من 30 مم إلى 60 مم ، مما يجعله مثاليًا للسكورات القاتلة والعبارات ووعاء الإمداد البحري العاملة في المجاري المائية الساحلية والداخلية.
يتم وضع أزرار الصلب الستة المتصلب (قطرها 3 بوصات لكل منها) بشكل استراتيجي في نمط سداسي لإنشاء نقاط ضغط موحدة عبر سطح الحبل. يقلل هذا التكوين من الإجهاد الموضعي على خطوط الإرساء بنسبة 40 ٪ مقارنة بتصميمات 2-بتر ، مما يمتد عمر خدمة الحبل. كل زر يدور بشكل مستقل لتقليل الاحتكاك أثناء حركة الحبل.
يتميز جسم الصلب المصبوب من قطعة واحدة بأضلاع تعزيز متكاملة تزيد من الصلابة دون وزن مفرط (إجمالي الوزن 120 كجم). يتميز الحلق بحبل القطر بحجم 10 بوصات بسطح ناعم ومُشع مع نسبة ثنائية 12: 1 محسّنة لخطوط الإرساء الاصطناعية. يتضمن الحافة الأساسية ثمانية ثقوب تركيب متباعدة على قدم المساواة للربط الآمن مع العديد من أسطح سطح السفينة.
يخضع Chock إلى الجلفنة الصناعية (الحد الأدنى لسمك 85μm) وفقًا لمعايير ASTM A123 ، تليها معطف إيبوكسي من الدرجة البحرية في المناطق الحرجة. يوفر نظام الحماية المزدوج هذا 1200+ ساعة من مقاومة رذاذ الملح ، وهو مناسب لكل من بيئات المياه المالحة والمياه العذبة. تستخدم جميع نقاط محور الأزرار 316 دبابيس الفولاذ المقاوم للصدأ لمنع الاستيلاء الناجم عن التآكل.
تقوم نقاط الاتصال المتعددة بتوزيع الحمل عبر مساحة سطح حبل أكبر ، مما يقلل من تركيزات الإجهاد الموضعية التي تسبب فشل الحبل المبكرة. يقلل هذا التصميم من امتداد الحبل والإرهاق ، ويمدد عمر الخدمة بنسبة تصل إلى 50 ٪ مقارنةً بألواح الأحفاد المفردة.
يجعل التصميم المدمج مثاليًا لقوارب العمل , الساحلية للعبارات , الساحلية ، وسفن الإمداد البحرية حيث تكون مساحة سطح السفينة محدودة ولكن أداء الإرساء الموثوق به أمر بالغ الأهمية. تتطابق قدرتها المتوسطة في المواجهة مع متطلبات السفن التي تعمل في المياه المحمية والقريبة من السطح.
في حين توفر chocks المغلقة احتواء أقصى قدر من الحبل ، يوفر الزر chock مرونة معالجة الحبل الفائقة والوصول إلى الصيانة الأسهل. يسمح التصميم المفتوح بالتفتيش البصري لحالة الحبل أثناء التشغيل وتبسيط تنظيف الحطام من مسار الحبل.
يجب أن تحقق عمليات التفتيش الشهرية من أنماط تآكل الأزرار والتآكل وارتداء الحبل. يجب تشحيم الأزرار كل ثلاثة أشهر مع شحوم من الدرجة البحرية ، وموزع عزم الدوران على الأجهزة. يشمل الفحص السنوي ارتداء زر القياس (الحد الأقصى المسموح به 2 مم في القطر).
نعم ، يتوافق مع ISO 13713 لتجهيزات الإرساء وهو معتمد من قبل جمعيات التصنيف بما في ذلك ABS و LR. يفي التصميم بمتطلبات Solas للسفن التي تعمل في المياه الساحلية والقريبة من المحيط.
يلقي الفولاذ 6 'زر chock
| نموذج لا. | φa | φb | φc | D | بالوزن (رطل) |
| DF-192 | 8 1/2 ' | 6 ' | 12 ' | 4 1/8 ' | 40 |
يمثل زر Cast Steel Marine Chock حلاً محسّنًا لتوجيهات الحبل وتوزيع الحمل في تطبيقات الإرساء المتوسطة ، وتوازن الأداء مع التصميم المدمج. نظرًا لأن الأوعية الساحلية والقوارب تتطلب معدات إرساء موثوقة تقلل من مساحة سطح السفينة مع الحفاظ على السلامة ، فإن هذا الزر يوفر وظائف استثنائية في حزمة موفرة للفضاء. تم إنشاؤه من الصلب المصبوب ASTM A27 مع حمولة عمل آمنة (SWL) من 600 كيلو نيوتن (61 طن) ، فهو يتميز بتكوين 6 أسنان مرتبة في نمط دائري لتوزيع ضغط الحبل بالتساوي. يبلغ قطره 18 بوصة بملف تعريف 3 بوصات ، ويستوعب chock أقطار الحبل من 30 مم إلى 60 مم ، مما يجعله مثاليًا للسكورات القاتلة والعبارات ووعاء الإمداد البحري العاملة في المجاري المائية الساحلية والداخلية.
يتم وضع أزرار الصلب الستة المتصلب (قطرها 3 بوصات لكل منها) بشكل استراتيجي في نمط سداسي لإنشاء نقاط ضغط موحدة عبر سطح الحبل. يقلل هذا التكوين من الإجهاد الموضعي على خطوط الإرساء بنسبة 40 ٪ مقارنة بتصميمات 2-بتر ، مما يمتد عمر خدمة الحبل. كل زر يدور بشكل مستقل لتقليل الاحتكاك أثناء حركة الحبل.
يتميز جسم الصلب المصبوب من قطعة واحدة بأضلاع تعزيز متكاملة تزيد من الصلابة دون وزن مفرط (إجمالي الوزن 120 كجم). يتميز الحلق بحبل القطر بحجم 10 بوصات بسطح ناعم ومُشع مع نسبة ثنائية 12: 1 محسّنة لخطوط الإرساء الاصطناعية. يتضمن الحافة الأساسية ثمانية ثقوب تركيب متباعدة على قدم المساواة للربط الآمن مع العديد من أسطح سطح السفينة.
يخضع Chock إلى الجلفنة الصناعية (الحد الأدنى لسمك 85μm) وفقًا لمعايير ASTM A123 ، تليها معطف إيبوكسي من الدرجة البحرية في المناطق الحرجة. يوفر نظام الحماية المزدوج هذا 1200+ ساعة من مقاومة رذاذ الملح ، وهو مناسب لكل من بيئات المياه المالحة والمياه العذبة. تستخدم جميع نقاط محور الأزرار 316 دبابيس الفولاذ المقاوم للصدأ لمنع الاستيلاء الناجم عن التآكل.
تقوم نقاط الاتصال المتعددة بتوزيع الحمل عبر مساحة سطح حبل أكبر ، مما يقلل من تركيزات الإجهاد الموضعية التي تسبب فشل الحبل المبكرة. يقلل هذا التصميم من امتداد الحبل والإرهاق ، ويمدد عمر الخدمة بنسبة تصل إلى 50 ٪ مقارنةً بألواح الأحفاد المفردة.
يجعل التصميم المدمج مثاليًا لقوارب العمل , الساحلية للعبارات , الساحلية ، وسفن الإمداد البحرية حيث تكون مساحة سطح السفينة محدودة ولكن أداء الإرساء الموثوق به أمر بالغ الأهمية. تتطابق قدرتها المتوسطة في المواجهة مع متطلبات السفن التي تعمل في المياه المحمية والقريبة من السطح.
في حين توفر chocks المغلقة احتواء أقصى قدر من الحبل ، يوفر الزر chock مرونة معالجة الحبل الفائقة والوصول إلى الصيانة الأسهل. يسمح التصميم المفتوح بالتفتيش البصري لحالة الحبل أثناء التشغيل وتبسيط تنظيف الحطام من مسار الحبل.
يجب أن تحقق عمليات التفتيش الشهرية من أنماط تآكل الأزرار والتآكل وارتداء الحبل. يجب تشحيم الأزرار كل ثلاثة أشهر مع شحوم من الدرجة البحرية ، وموزع عزم الدوران على الأجهزة. يشمل الفحص السنوي ارتداء زر القياس (الحد الأقصى المسموح به 2 مم في القطر).
نعم ، يتوافق مع ISO 13713 لتجهيزات الإرساء وهو معتمد من قبل جمعيات التصنيف بما في ذلك ABS و LR. يفي التصميم بمتطلبات Solas للسفن التي تعمل في المياه الساحلية والقريبة من المحيط.
ال DF-274-5 2 كلب مرفوع ماء ماء هو سطح السفينة البحرية الممتازة التي تم تصميمها من قبل Hee (Changshu Haichuan Engineering & Equipment Co. ، Ltd.) ، وهي شركة تصنيع رائدة في الصين متخصصة في المعدات البحرية والبحرية. تم تصميم هذه الفتحة لتلبية الحاجة الحاسمة لمقاومة موثوقة للمياه في البيئات البحرية القاسية ، بمثابة حاجز وقائي لفتحات سطح السفينة ، ومنع دخول المياه ، وتراكم الغبار ، والتآكل الذي قد يتسبب في إتلاف المكونات الداخلية للسفن أو المنصات الخارجية أو البنية التحتية للموانئ.