أنت هنا: بيت / تركيبات سطح السفينة / الساندة / زر دوار واحد لتطبيق سطح السفينة

تركيبات سطح السفينة

loading

حصة ل:
facebook sharing button
twitter sharing button
line sharing button
wechat sharing button
linkedin sharing button
pinterest sharing button
whatsapp sharing button
sharethis sharing button

زر دوار واحد لتطبيق سطح السفينة

زر دوار واحد
الموديل: DF-512
المواد: أستم A27
الوزن: 133 رطلا
التشطيب القياسي: طلاء أسود
اللون: حسب طلبك
التعبئة: حالة الخشب الرقائقي
توافر الحالة:
الكمية:
  • دف-512

  • HEE


زر دوار واحد


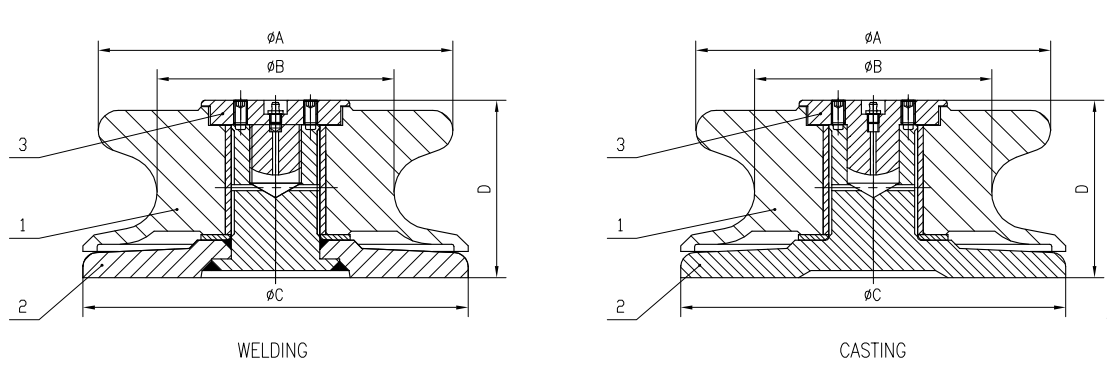
الصورة 5


نموذج رقم. ΦA Φب ΦC D بالوزن (رطل)
DF-512-W 12' 8' 13' 6 بوصة 133
DF-512-C 12' 8' 13' 6 بوصة 133


التفاصيل

نقدم لكم زر الأزرار ذو الأسطوانة الواحدة، المصمم خصيصًا لتطبيقات بناء السفن.يضمن هذا المنتج الاحترافي أقصى درجات السلامة والموثوقية في عمليات الإرساء.صُنع هذا الزر بدقة وخبرة، وهو مصمم لتحمل الظروف القاسية وتوفير أداء استثنائي.

تم تصميم زر الأزرار الفردي الخاص بنا لتلبية أعلى معايير الصناعة، مما يضمن متانته وطول عمره.إن بنيتها القوية والمواد المتفوقة تجعلها مقاومة للانفجارات، مما يضمن أقصى درجات السلامة لسفينتك وطاقمك.

تم تصميم هذا الزر مع وضع بناء السفن في الاعتبار، وهو يوفر اندماجًا سلسًا في مختلف الهياكل البحرية.يتيح تصميمه الأنيق والفعال سهولة التركيب والصيانة، مما يوفر لك الوقت والجهد الثمين.

مع التركيز على الأداء الوظيفي والأداء، يوفر هذا الزر نقطة إرساء آمنة ومستقرة للسفن من جميع الأحجام.تضمن قبضتها الموثوقة الاستقرار الأمثل، مما يسمح بعمليات إرساء آمنة وفعالة حتى في البيئات البحرية الصعبة.

استثمر في زرنا ذو الأسطوانة الواحدة واستمتع براحة البال التي تأتي مع معرفة أن عمليات بناء السفن الخاصة بك مجهزة بأعلى معايير الجودة والسلامة.ثق في منتجنا الاحترافي لتعزيز كفاءة وموثوقية عمليات الإرساء الخاصة بك.

على: 
تحت: 

مقالات ذات صلة

محتوى فارغ!

تمتلك HEE و Rijiu القدرة على تصنيع أي من احتياجاتك تقريبًا للتسليم في الوقت المناسب في أي مكان في العالم.
ترك رسالة
ابق على تواصل معنا

روابط سريعة

اتصل بنا

  هاتف: 2139 -5266- 512- 86+
بريد إلكتروني : hcee@cshcee.com
العنوان: No.99 Tongjiang Road، Meili Town، Changshu City، Jiangsu Province، PRC

منتوجات جديدة

فتحة بمقبض على شكل حرف T مقاومة للماء
الموديل: DF-430-18
المواد: أستم A36
التشطيب القياسي: الطلاء التمهيدي
اللون: حسب طلبك
موك: 5 قطع
التعبئة: لوح الخشب الرقائقي
0
0
4 كلب مرفوع بالكلاب
النموذج: DF-343-5
المواد: الصلب
الوزن: 99 رطل
التشطيب القياسي: Paint Primer
اللون: رمادي أو كطلبك
MOQ: 5pcs
التعبئة: البليت الخشب الرقائقي
0
0

ال DF-274-5 2 كلب مرفوع ماء ماء هو سطح السفينة البحرية الممتازة التي تم تصميمها من قبل Hee (Changshu Haichuan Engineering & Equipment Co. ، Ltd.) ، وهي شركة تصنيع رائدة في الصين متخصصة في المعدات البحرية والبحرية. تم تصميم هذه الفتحة لتلبية الحاجة الحاسمة لمقاومة موثوقة للمياه في البيئات البحرية القاسية ، بمثابة حاجز وقائي لفتحات سطح السفينة ، ومنع دخول المياه ، وتراكم الغبار ، والتآكل الذي قد يتسبب في إتلاف المكونات الداخلية للسفن أو المنصات الخارجية أو البنية التحتية للموانئ.

0
0
حقوق النشر © 2023 Changshu HaiChuan Engineering & Equipment Co.,Ltd. جميع الحقوق محفوظة.| Sitemap | سياسة الخصوصية |الدعم من قبل Leadong