| توافر الحالة: | |
|---|---|
| الكمية: | |
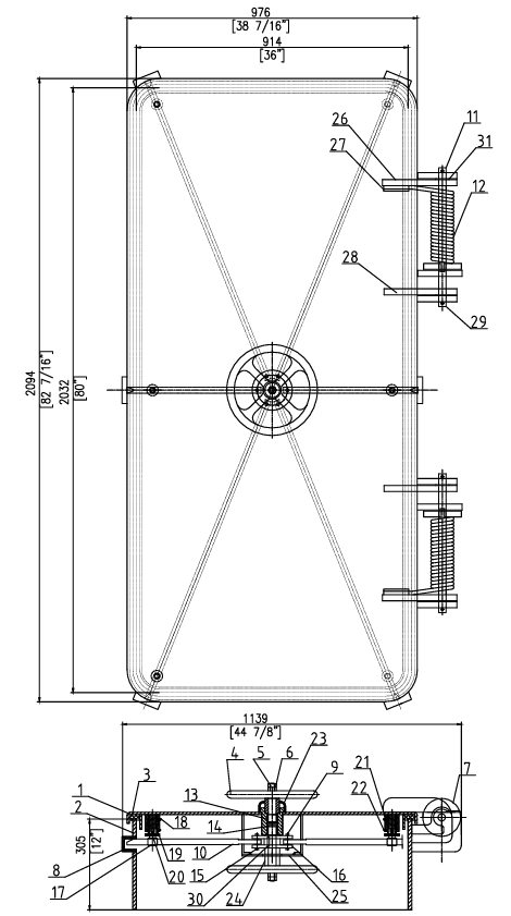
آر جيه-3680
HEE
سريع المفعول فتحة مقاومة للطقس
| لا. | الاسم والمواصفات | مادة |
| 1 | فتحة غطاء الجمعية | STEEL |
| 2 | الجمعية COAMING | STEEL |
| 3 | حشية الفتحة | النيوبرين |
| 4 | تجميع العجلات اليدوية | STEEL |
| 5 | رمح المركز | الفولاذ المقاوم للصدأ |
| 6 | مربى الجوز | الفولاذ المقاوم للصدأ |
| 7 | ضبط العجلة المسننة | STEEL |
| 8 | تجميع جيب الكلب | STEEL |
| 9 | دبوس كوتر | الفولاذ المقاوم للصدأ |
| 10 | ذراع الكلب | الفولاذ المقاوم للصدأ |
| 11 | دبوس مفصلي | الفولاذ المقاوم للصدأ |
| 12 | المفصلي الربيع | الفولاذ المقاوم للصدأ |
| 13 | جلبة | نايلون |
| 14 | التعبئة | الجرافيت |
| 15 | دبوس ذراع الكلب | الفولاذ المقاوم للصدأ |
| 16 | تجميع الكتلة الدوارة | الفولاذ المقاوم للصدأ |
| 17 | دليل دوار | نحاس |
| 18 | زر التعديل | STEEL |
| 19 | دليل دوار الربيع | الفولاذ المقاوم للصدأ |
| 20 | تركيب الشحوم | الفولاذ المقاوم للصدأ |
| 21 | غسالة | الفولاذ المقاوم للصدأ |
| 22 | أفسد | الفولاذ المقاوم للصدأ |
| 23 | كم | STEEL |
| 24 | كم | STEEL |
| 25 | صدَفَة | STEEL |
| 26 | شفرة المفصلة | STEEL |
| 27 | دعم الربيع | STEEL |
| 28 | دعم مثبت الربيع | STEEL |
| 29 | دبوس كوتر | الفولاذ المقاوم للصدأ |
| 30 | مفتاح | الفولاذ المقاوم للصدأ |
| 31 | غسالة | الفولاذ المقاوم للصدأ |
سريع المفعول فتحة مقاومة للطقس
| لا. | الاسم والمواصفات | مادة |
| 1 | فتحة غطاء الجمعية | STEEL |
| 2 | الجمعية COAMING | STEEL |
| 3 | حشية الفتحة | النيوبرين |
| 4 | تجميع العجلات اليدوية | STEEL |
| 5 | رمح المركز | الفولاذ المقاوم للصدأ |
| 6 | مربى الجوز | الفولاذ المقاوم للصدأ |
| 7 | ضبط العجلة المسننة | STEEL |
| 8 | تجميع جيب الكلب | STEEL |
| 9 | دبوس كوتر | الفولاذ المقاوم للصدأ |
| 10 | ذراع الكلب | الفولاذ المقاوم للصدأ |
| 11 | دبوس مفصلي | الفولاذ المقاوم للصدأ |
| 12 | المفصلي الربيع | الفولاذ المقاوم للصدأ |
| 13 | جلبة | نايلون |
| 14 | التعبئة | الجرافيت |
| 15 | دبوس ذراع الكلب | الفولاذ المقاوم للصدأ |
| 16 | تجميع الكتلة الدوارة | الفولاذ المقاوم للصدأ |
| 17 | دليل دوار | نحاس |
| 18 | زر التعديل | STEEL |
| 19 | دليل دوار الربيع | الفولاذ المقاوم للصدأ |
| 20 | تركيب الشحوم | الفولاذ المقاوم للصدأ |
| 21 | غسالة | الفولاذ المقاوم للصدأ |
| 22 | أفسد | الفولاذ المقاوم للصدأ |
| 23 | كم | STEEL |
| 24 | كم | STEEL |
| 25 | صدَفَة | STEEL |
| 26 | شفرة المفصلة | STEEL |
| 27 | دعم الربيع | STEEL |
| 28 | دعم مثبت الربيع | STEEL |
| 29 | دبوس كوتر | الفولاذ المقاوم للصدأ |
| 30 | مفتاح | الفولاذ المقاوم للصدأ |
| 31 | غسالة | الفولاذ المقاوم للصدأ |
محتوى فارغ!
ال DF-274-5 2 كلب مرفوع ماء ماء هو سطح السفينة البحرية الممتازة التي تم تصميمها من قبل Hee (Changshu Haichuan Engineering & Equipment Co. ، Ltd.) ، وهي شركة تصنيع رائدة في الصين متخصصة في المعدات البحرية والبحرية. تم تصميم هذه الفتحة لتلبية الحاجة الحاسمة لمقاومة موثوقة للمياه في البيئات البحرية القاسية ، بمثابة حاجز وقائي لفتحات سطح السفينة ، ومنع دخول المياه ، وتراكم الغبار ، والتآكل الذي قد يتسبب في إتلاف المكونات الداخلية للسفن أو المنصات الخارجية أو البنية التحتية للموانئ.